Qingdao Xinguangzheng Steel Structure Co., Ltd
DES NOUVELLES
Accueil / Des nouvelles / DES NOUVELLES / Différentes pièces intégrées dans la construction en acier

Différentes pièces intégrées dans la construction en acier

Nombre Parcourir:0     auteur:Éditeur du site     publier Temps: 2024-03-16      origine:Propulsé

enquête

facebook sharing button
twitter sharing button
line sharing button
wechat sharing button
linkedin sharing button
pinterest sharing button
whatsapp sharing button
sharethis sharing button

Dans la conception et la construction de pièces intégrées, les types suivants sont souvent appliqués: barre d'ancrage intégré, boulon d'ancrage intégré et boulon chimique. Alors, quelles sont leurs différences?

Les barres d'ancrage intégrées doivent être un renforcement HRB400 ou HPB300. Les barres d'ancrage droites et la plaque d'ancrage doivent être soudées en T. Le soudage à l'arc submergé sous pression doit être utilisé lorsque le diamètre de la barre d'ancrage n'est pas supérieur à 20 mm, et le soudage du bouchon perforée doit être utilisé lorsque le diamètre de la barre d'ancrage est supérieur à 20 mm.

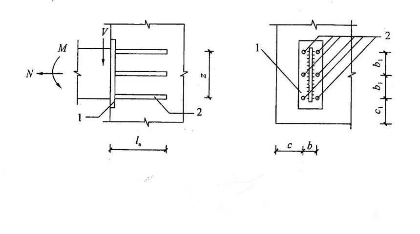
1. Tie d'ancrage

Le diamètre du droit stressé barres d'ancrage des pièces intégrées ne doivent pas être inférieures à 8 mm et ne doivent pas être supérieures à 25 mm. Le nombre de barres d'ancrage droits ne doit pas être inférieure à 4 et ne doit pas dépasser 4 lignes. La longueur d'ancrage de la barre d'ancrage droite est déterminée, la longueur d'ancrage du cisaillement et de la barre d'ancrage droite comprimée ne doit pas être inférieure à 15D, D est le diamètre de la barre d'ancrage.

Lorsque la barre d'ancrage utilise un renforcement de grade HPB300, la fin doit également avoir un crochet incurvé.


2. Bar intégrée

Le Q235B doit être utilisé ou Q355B, et le diamètre ne doit pas être inférieur à 20 mm. Le boulon d'ancrage doit être installé avec un crochet incurvé, ou une plaque d'ancrage ou un faisceau d'ancrage, et sa longueur d'ancrage ne doit pas être inférieure à 25D.

4. Boulon de fondation

Le boulon d'ancrage ne doit pas être utilisé pour résister à la force de réaction horizontale au bas de la colonne. Cette force de réaction horizontale est d'abord transmise à la fondation en béton à travers la force de frottement entre la plaque de pied de colonne et la surface du béton; Lorsque la force horizontale au bas de la colonne est supérieure à la force de frottement, les liaisons de cisaillement doivent être réglées sur la résistance au cisaillement.

Après l'installation et la correction, la plaque de coussin d'ancrage (l'épaisseur doit être de 0,5 à 0,7 fois de l'épaisseur de la plaque inférieure) et la plaque inférieure doit être soudée fermement. Les boulons doivent être fixés avec des écrous doubles, et les écrous et les tampons de boulons doivent être soudés par taches.

Le grade de boulon chimique est généralement de 4,8 (norme du marché), 5.8 (norme nationale), 8,8 (haute résistance), composée de vis, d'écrou, de joint et de tuyaux chimiques.

Le tuyau chimique du boulon d'ancrage chimique est composé de résine vinyle, de particules de sable de quartz et d'agent de durcissement. À travers la liaison de mortier de résine synthétique, la vis forme l'adhésion entre la vis et la paroi du trou, et forme le tout avec l'objet ancré, afin d'obtenir le rôle de fixation du membre et d'amélioration de la capacité d'appui de la composante.


7. Boulon chimique


Tige d'ancrage intégrée

Boulon d'ancrage

Boulon chimique

Grade d'acier

HRB400

Q355B

5.8S

Diamètre (mm)

24

24

24

Zone (MM2)

452.2

452.2

452.2

Section zone efficace (MM2)

452.2

352.5

352.5

T Stress ultime ensile (n / mm2)

540

470

500

T FORME D'ÉDIQUE ENSIL (N / MM2)

400

355

400

T Valeur de conception de résistance en résile (n / mm2)

300

180

240

Valeur de conception de la capacité de roulement anti-tension (KN)

81.4

63.5

84.6



N ° 268, Sancheng Road, Pingdu, Qingdao, Shandong, Chine
Mobile / Wechat / WhatsApp:
+ 86-158-5320-9069 / +86-178-0625-1013
À propos de nous
"Passion, praticité, gratitude et transcendance" est notre esprit d'entreprise.

Publique

Personnel

Liens de l'entreprise
Catégories de produits
Notre projet
Copyrights © 2021 Qingdao Xinguangzheng Steel Structure Co., Ltd. All Rights Reserved  Technology by leadong